Curiosii for ever!: Car repair manuals for everyone.

Fluid Line/Hose: Service and Repair

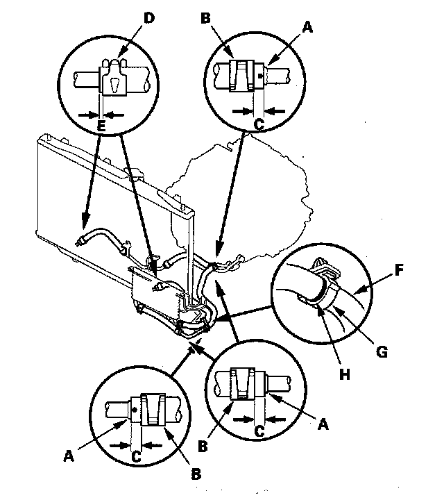
ATF Cooler Hose Replacement

1. Slide the ATF cooler hoses over the ATF cooler lines until the hose ends contact the bulge (A) on the ATF cooler lines.





2. Secure the hoses with the clips (B) at 6 - 8 mm (0.2 - 0.3 in.) (C) from the hose ends.
3. Secure the hoses at the ATF cooler with the clips (D) at 2 - 4 mm (0.1 - 0.2 in.) (E) from the hose ends.
4. Install the ATF cooler hose (F) on the clamp (G) at the mark (H).