Curiosii for ever!
: Car repair manuals for everyone.
Home
>>
Acura
>>
2008
>>
RL V6-3.5L
>>
Repair and Diagnosis
>>
Starting and Charging
>>
Power and Ground Distribution
>>
Relay Box
>>
Locations
>>
Connector Locations
>>
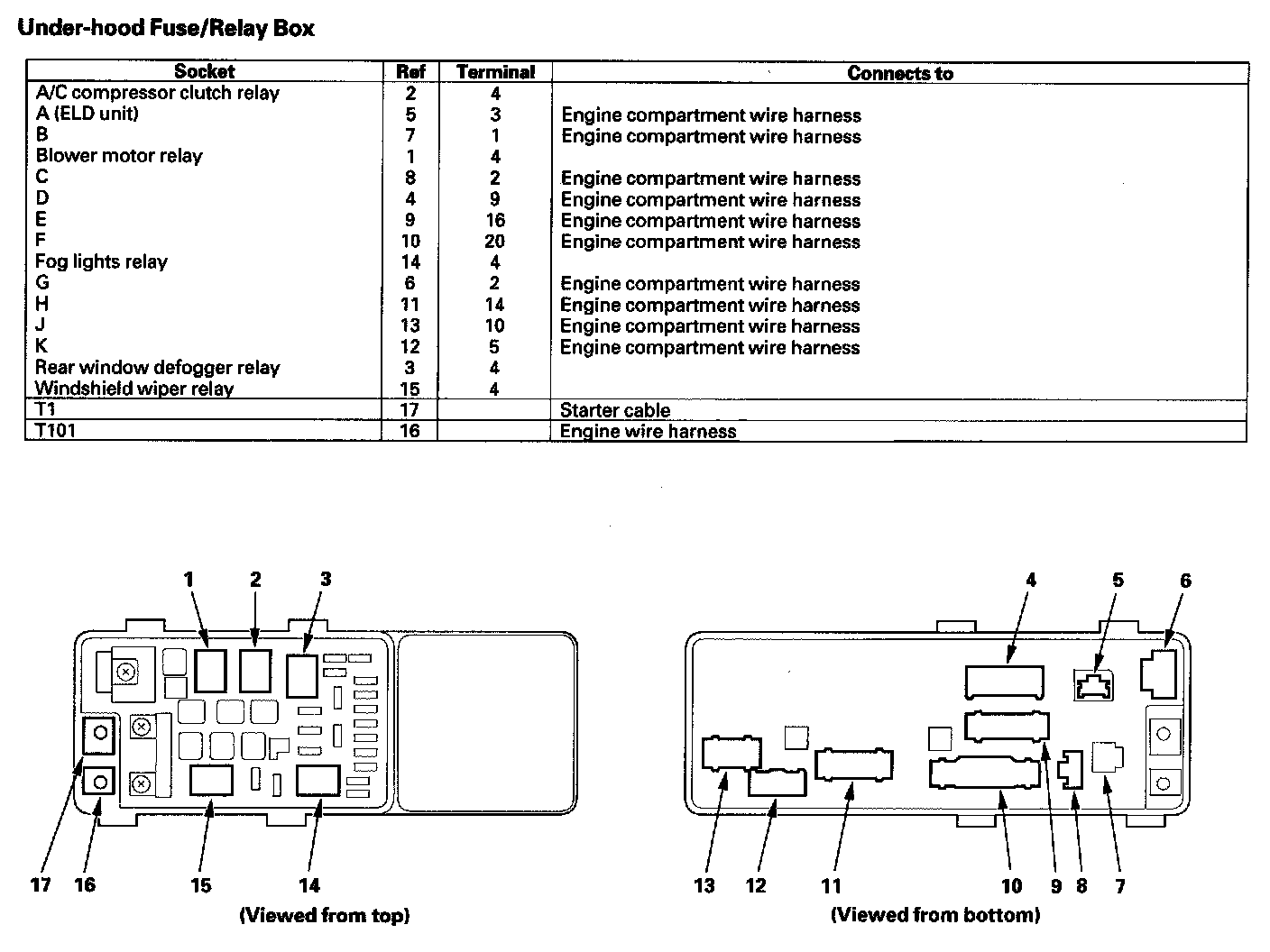
Under-Hood Fuse/Relay Box
Under-Hood Fuse/Relay Box
Under-hood Fuse/Relay Box: