Curiosii for ever!
: Car repair manuals for everyone.
Home
>>
Acura
>>
2008
>>
RL V6-3.5L
>>
Repair and Diagnosis
>>
Specifications
>>
Mechanical Specifications
>>
Engine
>>
Engine Lubrication
>>
Oil Pan, Engine
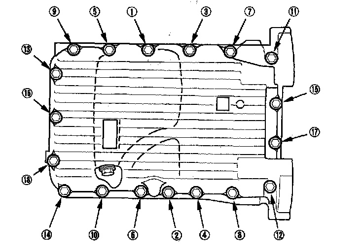
Oil Pan, Engine
Oil Pan
Tighten the bolts in two or three steps. In the final step, tighten all bolts, in sequence,
12 Nm (1.2 kgf-m, 8.7 ft. lbs.)