Curiosii for ever!: Car repair manuals for everyone.

Power and Ground Distribution: Testing and Inspection

Power Relay Test

Use this chart to identify the type of relay, then do the test listed for it.

NOTE: For the turn signal/hazard relay 1 input test, refer to Lighting and Horns.






Normally-open type A

Check for continuity between the terminals.

- There should be continuity between the No. 1 and No. 2 terminals when power is connected to the No. 4 terminal and ground the No. 3 terminal.
- There should be no continuity between the No. 1 and No. 2 terminals when power is disconnected.






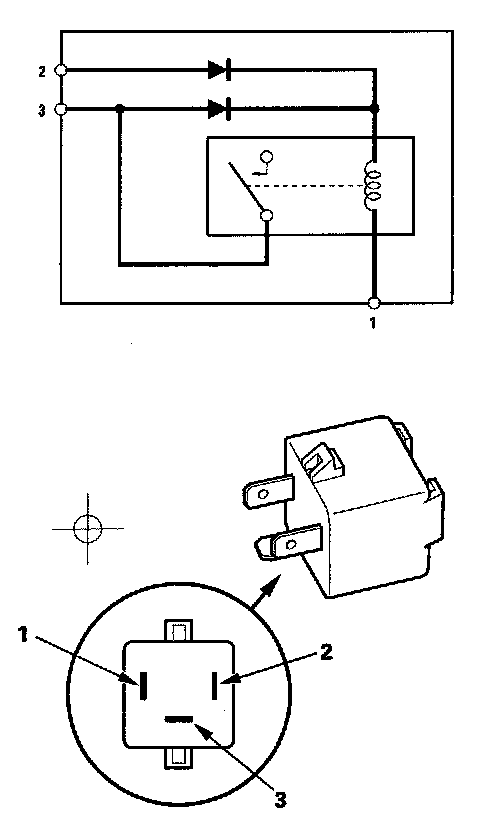
Normally-open type B

Check for continuity between the terminals.

- There should be continuity between the No. 1 and No. 3 terminals when power and ground are connected to the No. 2 and No. 4 terminals.
- There should be no continuity between the No. 1 and No. 3 terminals when power is disconnected.






Normally-open type C

Check for continuity between the terminals.

- There should be continuity between the No. 1 and No. 3 terminals when battery positive terminal is connected to the No. 2 terminal, and battery negative terminal is connected to the No. 4 terminal.
- There should be no continuity between the No. 1 and No. 3 terminals when power is disconnected.






Five-terminal type B

Check for continuity between the terminals.

- There should be continuity between the No. 1 and No. 2 terminals when power is connected to the No. 5 terminal and ground the No. 3 terminal.
- There should be continuity between the No. 1 and No. 4 terminals when power is disconnected.






Turn Signal/Hazard Relay 2 (sounder)

Check for a sound from the turn signal/hazard relay 2 The relay should sound once when power and ground are connected to the No. 2 and No. 1 terminals, and No. 3 and No. 1 terminals.