Curiosii for ever!: Car repair manuals for everyone.

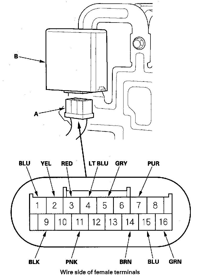
Headlight Leveling Control Unit Input Test

Headlight Leveling Control Unit Input Test

1. Turn the ignition switch OFF, remove the driver's dashboard undercover, and the driver's dashboard lower cover.
2. Disconnect the 16P connector (A) from the headlight leveling control unit (B).






3. Inspect the connector and socket terminals to be sure they are all making good contact.
- If the terminals are bent, loose or corroded, repair them as necessary, and recheck the system.
- If the terminals are OK, go to step 4.

4. With the connector still disconnected, make these input tests at the connector.
- If any test indicates a problem, find and correct the cause, then recheck the system.
- If all the input tests prove OK, go to step 5.






5. Reconnect the connector to the control unit, and make these input tests at the connector.
- If any tests indicates a problem, find and correct the cause, then recheck the system.
- If all the input tests prove OK, replace the headlight leveling control unit.






6. After replacing the control unit, do the headlight initial position learning procedure.