Curiosii for ever!: Car repair manuals for everyone.

General Specifications

Surface Variation








Cylinder Bore





Cylinder-to-Piston Clearance





Crankshaft





Journal Taper

Standard (New) 0.005 mm (0.0002 in.) max.

Service Limit 0.010 mm (0.0004 in.)








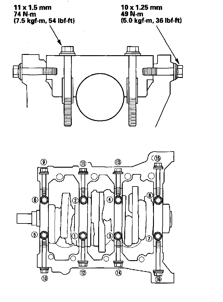
Main Bearing














Connecting Rod

Normal Bore Size 58.0 mm (2.28 in.)








Rod Bearing Clearance





Rod Bearing

Torque the bolts (B) 20 N-m (2.0 kgf-m, 14 lbf-ft) +90°

















Piston





Piston Ring

Piston Ring End-Gap

Top Ring

Standard (Now) 0.20 - 0.35 mm (0.008 - 0.014 in.)

Service Limit 0.60 mm (0.024 in.)

Second Ring

Standard (New) 0.40 - 0.55 mm (0.016 - 0.022 in.)

Service Limit 0.70 mm (0.028 in.)

Oil Ring

Standard (New) 0.20 - 0.70 mm (0.008 - 0.028 in.)

Service Limit 0.80 mm (0.031 in.)





Crankshaft Pulley

Torque 64 N-m (6.5 kgf-m, 47 lbf-ft) +60°