Curiosii for ever!
: Car repair manuals for everyone.
Home
>>
Acura
>>
2008
>>
RL V6-3.5L
>>
Repair and Diagnosis
>>
Diagrams
>>
Electrical Diagrams
>>
Garage Door Opener Transmitter
>>
HomeLink Remote Control System
HomeLink Remote Control System
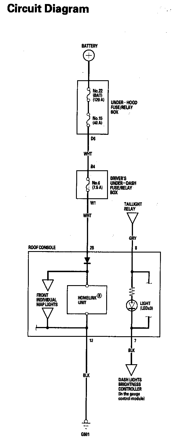
HomeLink Remote Control System Circuit Diagram: