Curiosii for ever!: Car repair manuals for everyone.

Splash Guard: Service and Repair

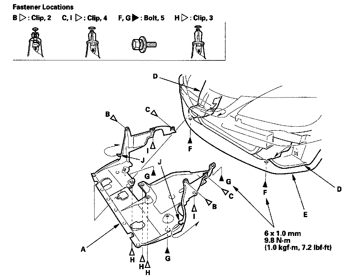
Splash Shield Replacement

Special Tools Required
Push pin puller 07AAC-SJAA100

NOTE: Take care not to scratch the body.

1. Remove the splash shield (A).
1. Remove the clips (B, C) that secure the front inner fender (D) and splash shield to the body.
2. From under the front bumper (E), remove the bolts (F) (with engine undercover).
3. From under the body, remove the bolts (G) and clips (H, I).




4. Release the hooks (J) of the splash shield, then pull the splash shield out.

2. Install the splash shield in the reverse order of removal, and note these items:
- Check if the clips are damaged or stress-whitened, and if necessary, replace them with new ones.
- Push the clips into place securely.