Curiosii for ever!: Car repair manuals for everyone.

Power Seat Adjustment Switch Test/Replacement

Power Seat Adjustment Switch Test/Replacement

NOTE: For the driver's power seat, refer to the Driving Position Memory System (DPMS).

Front Passenger's Seat

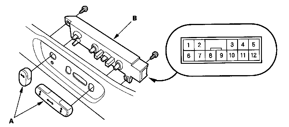
1. Remove the power seat adjustment switch knobs (A) and recline cover from the front passenger's seat.






2. Remove the two screws and power seat adjustment switch (B).
3. Disconnect the 12P connector from the power seat adjustment switch.
4. Reinstall the switch knobs to the switch.
5. Check for continuity between the terminals in each switch position according to the table.






6. If the continuity is not as specified, replace the switch.