Curiosii for ever!: Car repair manuals for everyone.

Front Fender Fairing

Front Fender Fairing Replacement

1. Remove the front inner fender as needed.




2. Open the door, and remove the clips that secure the front fender fairing (A). Remove the upper clip (B) from outside the door, and the lower clip (C) from inside the door.




3. Release the clips (A, B) from the wheel arch.
4. Remove the front fender fairing (C).




5. Install the fender fairing in the reverse order of removal, and note these items:
- Check if the clips are damaged or stress-whitened, and if necessary, replace them with new ones.
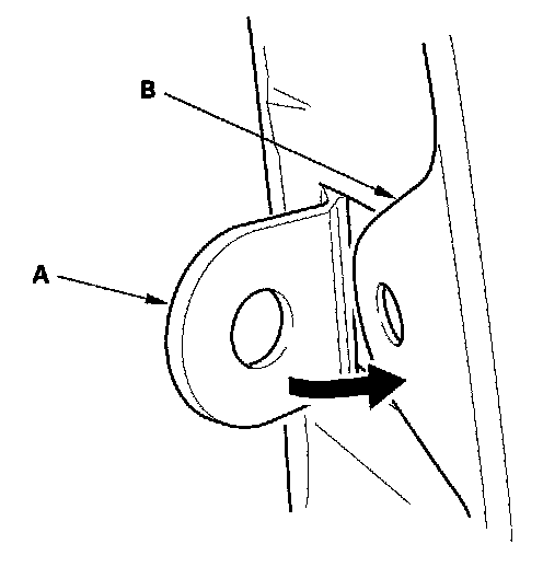
- Before installing the clips in the door opening area, install the front fender fairing (A) on the front fender (B) as shown.
- Push the clips into place securely.