Curiosii for ever!: Car repair manuals for everyone.

Hood Switch Test

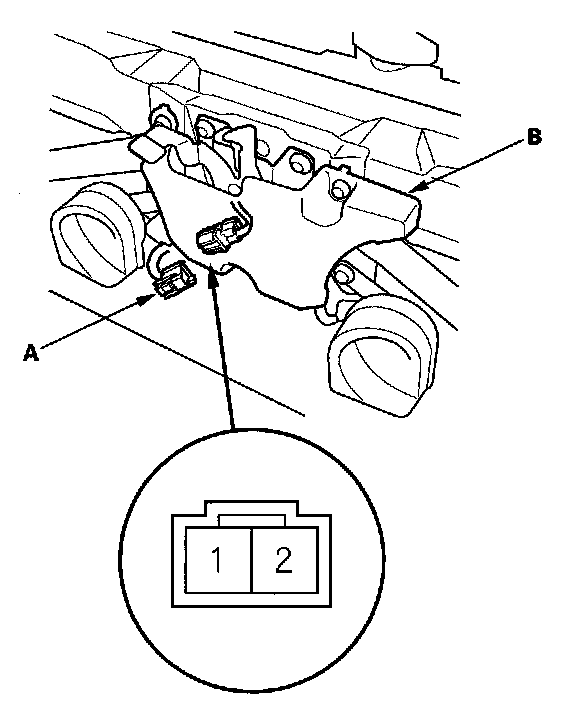
Hood Switch Test

1. Open the hood.
2. Disconnect the 2P connector (A) from the hood switch (B).






3. Check for continuity between the terminals. There should be continuity between the No. 1 and No. 2 terminals when the hood is opened (latch released). There should be no continuity between the No. 1 and No. 2 terminals when the hood is closed (latch pushed down).
4. If the continuity is not as specified, replace the hood switch.