Curiosii for ever!: Car repair manuals for everyone.

ATF Level Check

ATF Level Check

NOTE: Keep all foreign particles out of the transmission.

1. Park the vehicle on level ground.
2. Warm up the engine to normal operating temperature (the radiator fan comes on), and turn the engine off. Do not allow the engine to warm up beyond the point that the radiator fan has come on twice.

NOTE: Check the fluid level within 60-90 seconds after turning the engine off. Higher fluid level may be indicated if the radiator fan comes on twice or more.

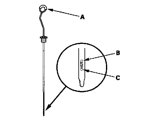
3. Remove the dipstick (yellow loop) (A) from the dipstick guide tube, and wipe it with a clean cloth.





4. Insert the dipstick aligning the cap (B) with the guide tab (C).
5. Remove the dipstick (A) and check the fluid level. It should be between the upper mark (B) and the lower mark (C).





6. If the level is below the lower mark, check for fluid leaks at the transmission, hose and line joints. Of a problem is found, fix it before filling the transmission.

NOTE: If the vehicle is driven when the ATF level is below the lower mark:
^ The transmission may be damaged.
^ The vehicle may not move in any gear.
^ The vehicle may accelerate poorly, and flare when starting off in the D and R positions.
^ The engine may vibrate at idle.

7. If the level is above the upper mark, drain the ATF to the proper level.

NOTE: If the vehicle is driven when the ATF level is above the upper mark, the vehicle can move in the N position, and shifting malfunction will occur.

8. If necessary fill the transmission through the dipstick guide tube opening (A) to bring the fluid level up to about midway between the upper mark and lower mark of the dipstick with the ATF. Do not fill the fluid above the upper mark. Always use Acura ATF DW-1 (ATF Z1 has been replaced by ATF DW-1, Honda Service News Nov 2010) Automatic Transmission Fluid (ATF). Using a non-Acura ATF can affect shift quality.





9. Insert the dipstick back into the dipstick guide tube aligning the cap with the guide tab on the guide tube.