Curiosii for ever!: Car repair manuals for everyone.

Cabin Temperature Sensor / Switch: Service and Repair

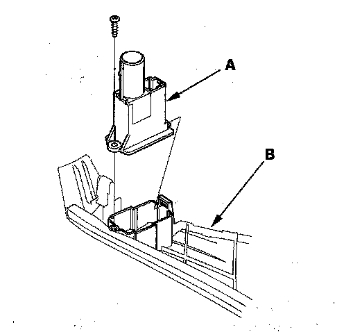
In-car Temperature Sensor Replacement

1. Remove the driver's inner dashboard trim.




2. Remove the self-tapping screw and the in-car temperature sensor (A) from the driver's inner dashboard trim (B).
3. Install the sensor in the reverse order of removal. Be sure to connect the air hose securely.