Curiosii for ever!: Car repair manuals for everyone.

Traction Control Switch: Testing and Inspection

VSA Off Switch Test
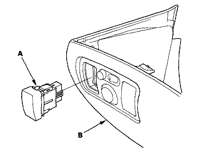
1. Remove the driver's dashboard lower cover, and disconnect the VSA OFF switch 5P connector.
2. Push out the VSA OFF switch (A) from the back of the dashboard lower cover (B).





3. Check for continuity between VSA OFF switch 5P connector terminals No. 1 and No. 2. there should be continuity while the switch is pressed, and no continuity when the switch is released.





4. Check for continuity between VSA OFF switch 5P connector terminals No. 3 and No. 4. there should be continuity at all times.