Curiosii for ever!: Car repair manuals for everyone.

Fluid Line/Hose: Service and Repair

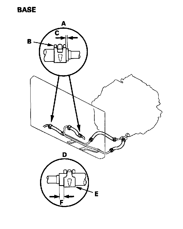
ATF Cooler Hose Replacement
1. Slide the ATF cooler hoses over the ATF cooler lines until the hose ends contact the bulge on the ATF cooler lines.
2. Type-S: Align the marks (A) on the ATF cooler hoses of the air cooled ATF cooler as shown.





3. At the joints (A) under the radiator, secure the hoses with the clips (B) at 2-41 mm (0.08-0.16 in.) (C) from the hose ends.








4. At the joints (D) except under the radiator, secure the hoses with the clips (E) at 6-8 mm (0.08-0.16 in.) (F) from the hose ends.