Curiosii for ever!: Car repair manuals for everyone.

ATF Replacement

ATF Replacement

NOTE: Keep all foreign particles out of the transmission.

1. Bring the transmission up to normal operating temperature (the radiator fan comes on).
2. Park the vehicle on level ground, and turn the engine off.
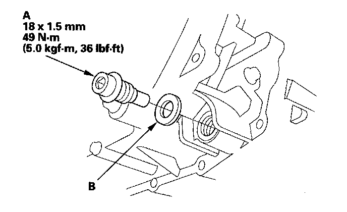
3. Remove the ATF filler bolt and drain plug (A), and drain the automatic transmission fluid (ATF).

NOTE: If a cooler cleaning is used, refer to ATF Cooler Cleaning.





4. Reinstall the drain plug and a new sealing washer (B).
5. Refill the transmission with the recommended fluid through the filler hole (A) to the upper mark on the dipstick. Always use Acura ATF DW-1 (ATF Z1 has been replaced by ATF DW-1, Honda Service News Nov 2010) Automatic Transmission Fluid (ATF). Using a non-Acura ATF can affect shift quality.





6. Install the ATF filler bolt (B) with a new sealing washer (C).