Curiosii for ever!: Car repair manuals for everyone.

Brake Fluid Level Sensor/Switch: Testing and Inspection

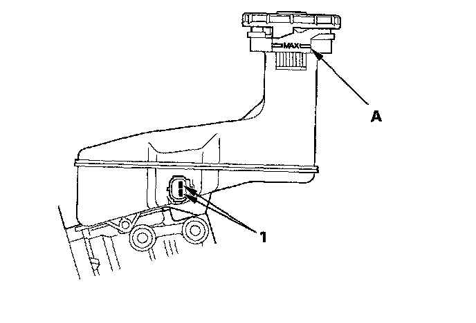
Brake Fluid Level Switch Test

Check for continuity between the terminals (1) with the float in the down position and in the up position.

^ Remove the brake fluid completely from the reservoir. With the float down, there should be continuity.
^ Fill the reservoir with brake fluid to the MAX (upper) level (A). With the float up, there should be no continuity.