Curiosii for ever!: Car repair manuals for everyone.

Traction Control Switch: Testing and Inspection

VSA Off Switch Test

1. Remove the driver's dashboard upper cover.
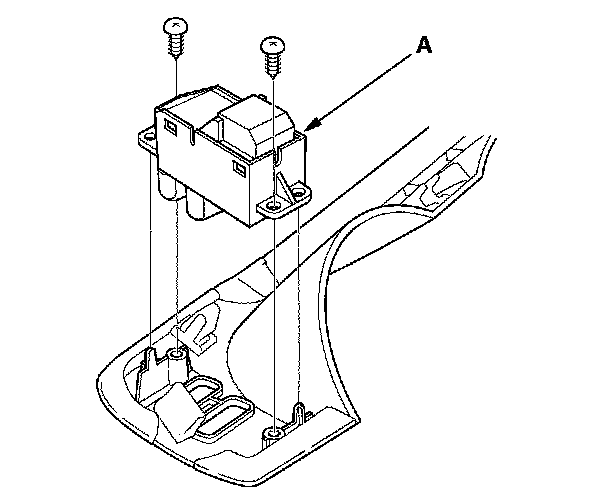
2. Remove the VSA OFF switch (A) from the switch panel.





3. Disconnect the VSA OFF switch 6P connector.
4. Check for continuity between the VSA OFF switch 6P connector terminal No. 4 and No. 6. There should be continuity when the switch is pressed, and no continuity when the switch is released.