Curiosii for ever!: Car repair manuals for everyone.

Transmission Installation

Transmission Installation

Special Tools Required
- Engine hanger/adapter VSB02C000015 *
- Engine support hanger, A & Reds AAR-T-12566 *
- Subframe adapter VSB02C000016 *
- Available through the Acura Tool and Equipment Program 888-424-6857.

1. Check that the two dowel pins are installed in the clutch housing.





2. Apply super high temp urea grease (P/N 08798-9002) to the release fork (A) and the release bearing (B). Install the release fork, the release bearing, and the boot (C).





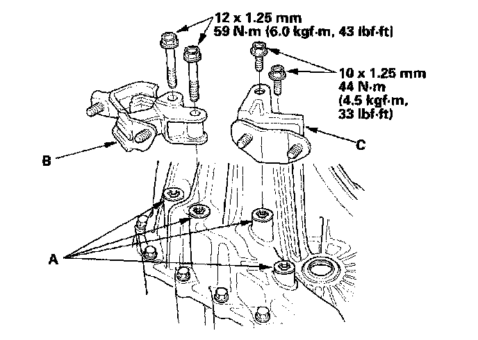
3. Check that the mount bracket collars (A) are installing the transmission, then install the transmission lower front mount (B) and transmission lower rear mount (C).
4. Place the transmission on the transmission jack, and raise it to the engine level.





5. Install the transmission mounting lower bolts.





6. Install the clutch cover.





7. Install the rear engine mount upper bracket.





8. Install the rear engine mount (A), rear engine mount upper mounting bolt (B), and shift cable bracket (C).





9. Install the front engine mount upper bracket.





10. Support the subframe with the subframe adapter and a jack.





11. Install the front suspension subframe (A) and front suspension subframe stays (B).





12. Align the reference marks (A) with edge (B) of both rear stiffer (C), and tighten the rear subframe mounting bolts, then the front bolts, and tighten the stiffener bolts to the specified torque.





13. Install the middle subframe mounting bolts.





14. Install the transmission lower mount mounting nuts.





15. Install the engine lower rear mount mounting bolts.
16. Install the intermediate shaft.
17. Install the driveshaft inboard joint.
18. Install the knuckle onto the lower arm.
19. Install the damper fork.
20. Connect the front stabilizer.





21. Install exhaust pipe A and new gaskets (B).





22. Connect the power steering pressure switch connector.
23. Connect the return line to the power steering fluid reservoir.
24. Install the tie-rod ball joint.





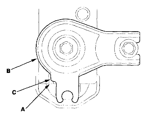
25. Install the splash shield.
26. Refill the transmission with fluid.
27. Install the front wheels, and set them in the straight ahead position.
28. Lower the vehicle.
29. Unlock the steering wheel.





30. Connect the steering joint to the steering gearbox pinion shaft (A) by aligning the reference mark (B), and remove the wire (C) from the joint yoke (D).
31. Install the steering joint cover (E).





32. Check that the mount bracket collars (A) are installing the transmission, then install the transmission mount bracket (B) and ground cable (C).
33. Remove the engine hanger and special tool from the engine.





34. Install the power steering pump outlet line (A) with a new O-ring (B) to the pump (C), and secure the hose clamp (D) with the bolt.
35. Connect the return hose (E) to the power steering fluid reservoir (F), then secure the hose with the clamp (G).





36. Install the transmission upper mounting bolts.





37. Install the rear mount stop.





38. Install the engine front mount mounting bolt (A) and front mount stop (B).





39. Install the bracket (A), then connect the secondary heated oxygen sensor (secondary H02S) connector (B).





40. Connect the reverse lockout solenoid connector (A), back-up light switch connector (B), and output shaft (countershaft) speed sensor connector (C).





41. install the cable bracket (A) and cables (B).
42. Apply a light coat of super high temp urea grease (P/N 08798-9002) to the cable ends, and install new cotter pins (C).





43. Apply super high temperature grease (P/N 08798-9002) to the end of the cylinder rod. Install the slave cylinder. Be careful not to bend the clutch line.
44. Install the battery base.
45. Install the air cleaner housing.
46. Remove the steering wheel.
47. Center the cable reel by first rotating it clockwise until it stops. Then rotate it counterclockwise (about three full turns) until the arrow mark on the label points straight up.
48. Reinstall the steering wheel.
49. Install the battery. Connect the positive (+) cable to the battery first, then connect the negative (-) cable.
50. Fill the power steering fluid reservoir with fluid to the upper level line.
51. Start the engine, and run it at fast idle, then turn the steering wheel from lock-to-lock several times to bleed air from the system.
52. Recheck the fluid level, and refill if necessary.
53. Check the front wheel alignment.
54. Check the steering wheel spoke angle. If the steering spoke angles to the right and left are not equal (steering wheel and rack are not centered), correct the engagement of the joint/pinion shaft serrations, then adjust the front toe by turning the tie-rod ends if necessary. If you need to correct the engagement of the joint/pinion shaft, repeat steps 47 thru 49 after disconnecting the battery and waiting 3 minutes.
55. Test-drive the vehicle.
56. Check the clutch operation.
57. Enter the anti-theft codes for the radio and the navigation system, then enter the customer's radio station and XM radio channel presets set the clock.
58. Do the power window control unit reset procedure.