Curiosii for ever!: Car repair manuals for everyone.

Map Light: Testing and Inspection

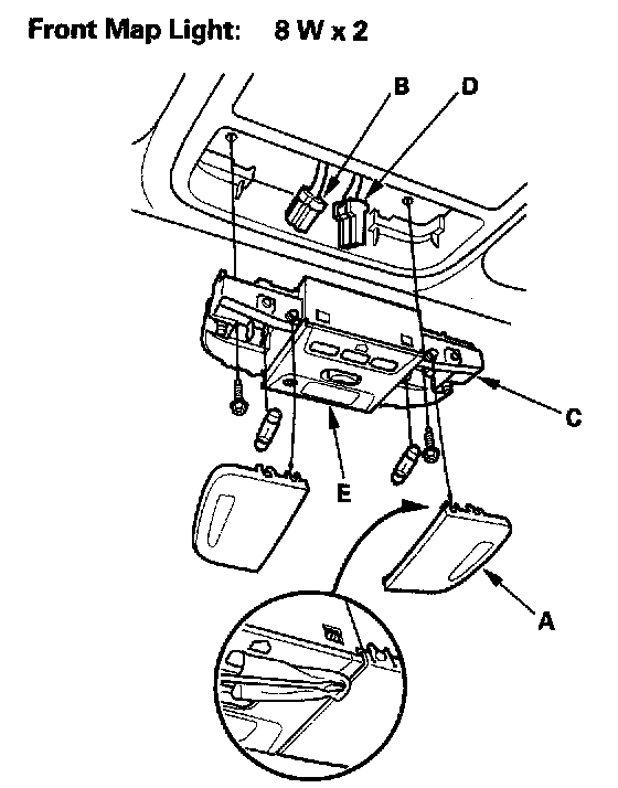
Front Individual Map Light Replacement




1. Carefully pry off the lens (A) with a small screwdriver.
2. Remove the two mounting screws.
3. Disconnect the 3P connector (B) from the housing (C).
4. Disconnect the 10P connector (D) from the ambient light (E).
5. Install the light in the reverse order of removal.