Curiosii for ever!: Car repair manuals for everyone.

Receiver Dryer: Service and Repair

Receiver/Dryer Desiccant Replacement

1. Remove the A/C condenser.




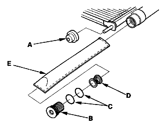
2. Remove the lower cushion (A), then remove the cap (B) from the bottom of the A/C condenser. Remove the O-rings (C), the filter (D) and the desiccant (E).
3. Install the desiccant in the reverse order of removal, and note these items:

Replace the O-rings with new ones, and apply a thin coat of refrigerant oil (KEIHIN SP-10) before installing them. Be sure to use the correct O-rings for HFC-134a (R-134a) to avoid leakage.