Curiosii for ever!: Car repair manuals for everyone.

Navigation System: Service and Repair

DVD-ROM Replacement

NOTE: When the DVD-ROM is re-inserted or replaced, a map match must be done.

1. Turn the ignition switch ON (II).




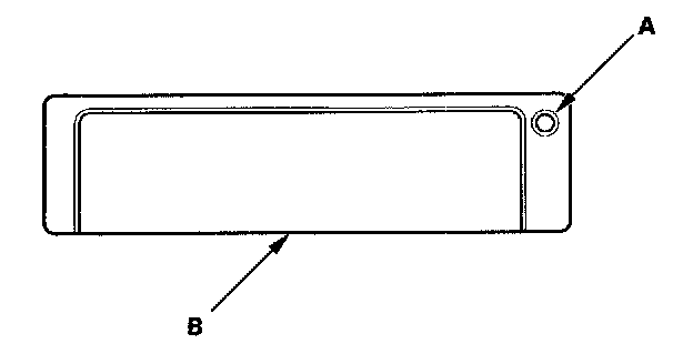
2. Push the open button (A) of the navigation unit (B) located in the trunk area.
3. Press the EJECT button.
4. Remove the DVD-ROM.
5. Insert the new DVD-ROM.
6. Push the open button. Do not turn the ignition switch OFF, until data is down loaded to navigation unit.

NOTE: After servicing, the front cover must be closed. If you start up the navigation system with the front cover open, the display will indicate. "Navigation unit door is open or No DVD Disk installed. Please check system".