Curiosii for ever!: Car repair manuals for everyone.

How to Troubleshoot Circuits at the PCM

How to Troubleshoot Circuits at the PCM

Special Tools Required
Backprobe set 07SAZ-001000A (two required)

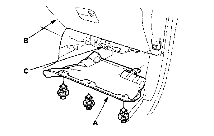
1. Remove the dashboard lower cover (A) under the glove box (B), then you can see the PCM connectors (C).





2. Connect the backprobe adapters (A) to the stacking patch cords (B), and connect the cords to a multimeter (C).





3. Using the wire insulation as a guide for the contoured tip of the backprobe adapter, gently slide the tip into the connector from the wire side until it touches the end of the wire terminal.
4. If you cannot get to the wire side of the connector or the wire side is sealed, disconnect the connector and use the tester probe to probe the connectors from the terminal side. Do not force the probe into the connector.