Curiosii for ever!: Car repair manuals for everyone.

System Description: Overview




Overview

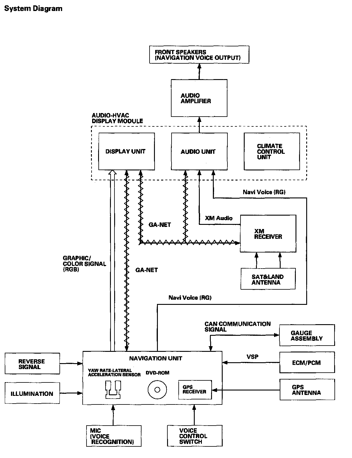
The navigation system is a highly-sophisticated, hybrid locating system that uses satellites and a map database to show you where you are and to help guide you to a desired destination.

The navigation system receives signals from the global positioning system (GPS), a network of 24 satellites in orbit around the earth. By receiving signals from several of these satellites, the navigation system can determine the latitude, longitude elevation of the vehicle. In addition, signals from the system's yaw rate sensor and the ECM/PCM (vehicle speed pulse) enable the system to keep track of the vehicle's direction and speed of travel.

This hybrid system has advantages over a system that is either entirely self-contained or one that relies totally on the GPS. For example, the self-contained portion of the system can keep track of vehicle position even when satellite signals cannot be received. When the navigation system is on, the GPS can keep track of the vehicle position even when the vehicle is transported by ferry.

The navigation system applies all location, direction, and speed information to maps and calculates a route to the destination entered. As you drive to that destination, the system provides both visual and audio guidance.

This navigation system also has voice recognition that allows voice control of most of the navigation functions. The Talk and BACK buttons on the steering wheel activate the voice control. The voice control also allows control of the audio and climate control.

The navigation system provides a trip computer function. The fuel economy display is calculated by data provided by the ECM/PCM. The ECM/PCM provides fuel pulses via the F-CAN bus, and a dedicated speed signal.

The illumination signal is used by the navigation unit to automatically switch the display between Night and Day brightness modes when Display is set to Auto. When the instrument panel brightness control is set to full brightness, the navigation system stays in the Day mode, even with the headlights on. Display unit button illumination is supplied through the audio unit.

The GA-NET bus provides communication between the navigation unit and the display unit. This bus also links the components in the audio-HVAC display module. The bus is used to pass button and touch-screen commands to the navigation unit. In addition, muting and voice control commands are sent to the display unit and the audio and climate control systems for processing. The audio unit uses the bus to control the XM-receiver or other accessories.

NOTE: When installing factory audio accessories, always ensure that the GA-NET bus is re-connected.