Curiosii for ever!: Car repair manuals for everyone.

Trunk / Liftgate Spring: Service and Repair

Trunk Lid Torsion Bar Replacement

Special Tools Required
Torsion bar assembly tool O8M10-SM4-100 or 07AAE-SDAA100




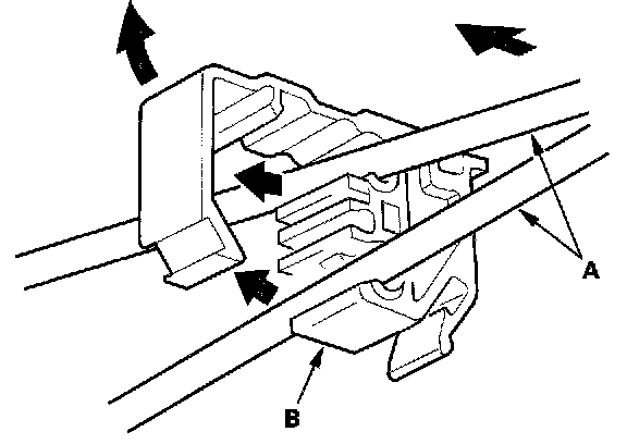
1. Remove the torsion bars (A) from the torsion bar center clip (B).




2. Put on gloves to protect your hands. Remove the torsion bars with the torsion bar tool (A) from both trunk lid hinges. First remove the left torsion bar (B), then remove the right torsion bar (C).




3. Remove the torsion bar center clip from the body.




4. Install the torsion bars in the reverse order of removal, and note these items:
- The shapes of the right torsion bar (A) and left torsion bar (B) are shown. Install the torsion bars properly.
- Adjust the torsion bars forward or rearward with the torsion bar assembly tool.
- Positions where each torsion bar was installed at the factory:

Left torsion bar: Normal position
Right torsion bar: Higher tension

- Make sure the trunk lid opens properly and locks securely.