Curiosii for ever!: Car repair manuals for everyone.

Power Mirror Replacement

Power Mirror Replacement

1. Lower the door glass fully.




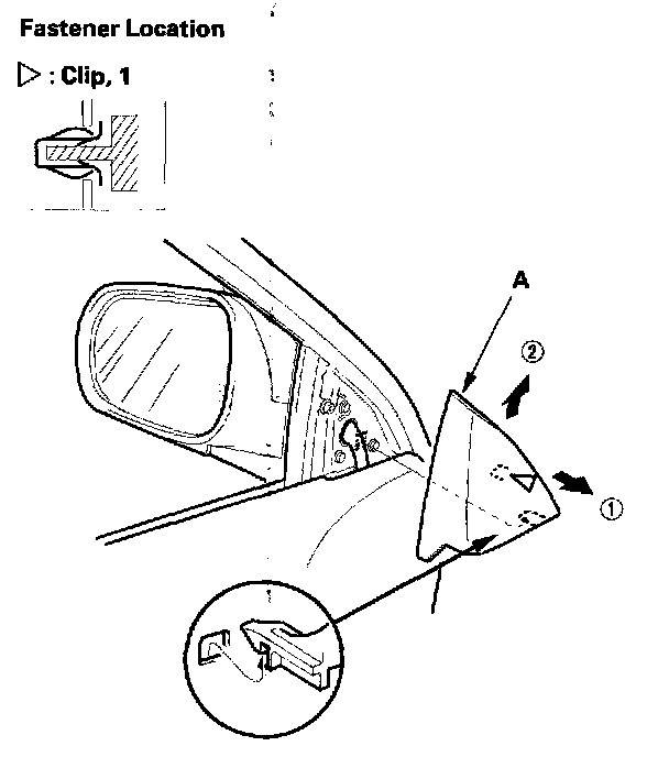
2. Carefully pry out the mirror mount cover (A) by hand in the sequence shown.
3. Remove the door panel.




4. Disconnect the connector (A). While holding the mirror (B), remove the nuts, then remove the mirror. Take care not to scratch the door.
5. Install the mirror in the reverse order of removal, and make sure the connector is plugged in properly.