Curiosii for ever!: Car repair manuals for everyone.

Electronic Control System

Electronic Control System

Functional Diagram
The electronic control system consists of the powertrain control module (PCM), sensors, and solenoid valves. Shifting and lock-up are electronically controlled for comfortable driving under all conditions.




Electronic Controls Locations:





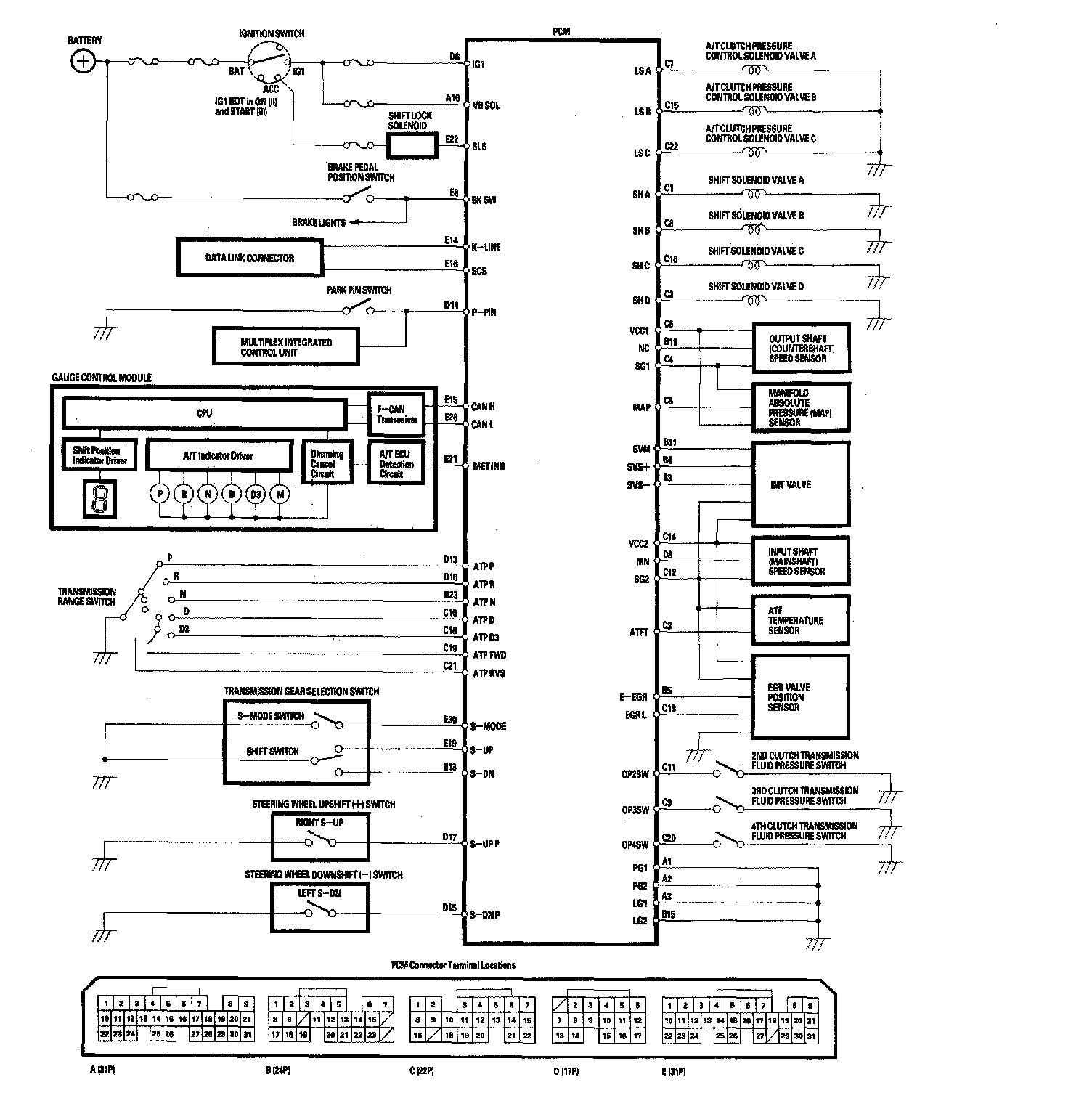
The PCM receives input signals from the sensors, switches, and other control units, processes data, and outputs signals for the engine control system and A/T control system. The A/T control system includes shift control, grade logic control, clutch pressure control, and lock-up control. The PCM switches the shift solenoid valves and the A/T clutch pressure control solenoid valves to control shifting transmission gears and lock-up torque converter clutch.

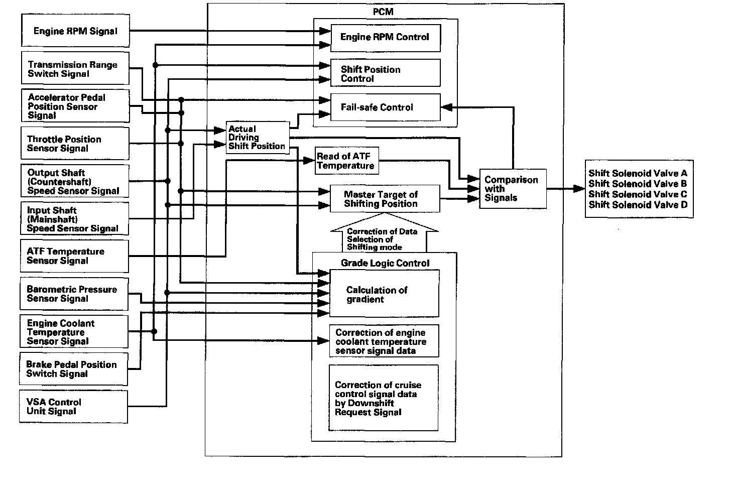
Shift Control





The PCM instantly determines which gear should be selected by various signals sent from sensors and switches, and it actuates the shift solenoid valves A, B, C, and D to control shifting transmission gear.

The shift solenoid valves have two types:
- Shift solenoid valves A and D use 0 N-OPE N/OFF-C LOSE type; shift solenoid valve opens the port of shift solenoid valve pressure while shift solenoid valve is turned ON by the PCM, and closes the port when shift solenoid valve is OFF.
- Shift solenoid valves B and C use ON-CLOSE/OFF-OPEN type; shift solenoid valve closes the port of shift solenoid valve pressure while shift solenoid valve is turned ON by the PCM, and opens the port when shift solenoid valve is OFF.

The combination of driving signals to shift solenoid valves A, B, C, and D are shown in the table.

Shift Control - Grade Logic Control





A grade logic control system has been adopted to control shifting in the D and D3 positions. The PCM compares actual driving conditions with programmed driving conditions, based on the input from the throttle position sensor, the engine coolant temperature sensor, the barometric pressure sensor, the brake pedal position switch signal, and the shift lever position signal, to control shifting while the vehicle is ascending or descending a slope.

Ascending Control





When the PCM determines that the vehicle is climbing a hill in the D and D3 positions, the system extends the engagement area of 2nd gear, 3rd gear, and 4th gear to prevent the transmission from frequently shifting between 2nd and 3rd gears, between 3rd and 4th gears, and between 4th and 5th gears, so the vehicle can run smooth and have more power when needed.

NOTE: Shift commands stored in the PCM between 2nd and 3rd gears, between 3rd and 4th gears, and between 4th and 5th gears, enable the PCM to automatically select the most suitable gear according to the magnitude of a gradient.

Descending Control





When the PCM determines that the vehicle is going down a hill in the D and D3 positions, the shift-up speed from 4th to 5th gear, 3rd to 4th gear, and from 2nd to 3rd (when the throttle is closed) becomes faster than the set speed for flat road driving to widen the 4th gear, 3rd gear, and 2nd gear driving areas. This, in combination with engine braking from the deceleration lock-up, achieves smooth driving when the vehicle is descending. There are three descending modes with different 4th gear driving areas, 3rd gear driving areas and 2nd gear driving areas according to the magnitude of a gradient stored in the PCM. When the vehicle is in 5th or 4th gear and you are decelerating while applying the brakes on a steep hill, the transmission will downshift to a lower gear. When you accelerate, the transmission will then return to a higher gear.

Deceleration Control
When the vehicle goes around a corner and needs to decelerate first and then accelerate, the PCM sets the data for deceleration control to reduce the number of times the transmission shifts. When the vehicle is decelerating from speeds above 27 mph (43 km/h), the PCM shifts the transmission from 5th or 4th to 2nd earlier than normal to cope with upcoming acceleration.

Shift Control - Sequential Sportshift Mode





The RL transmission is provided a sequential sportshift mode in the D position. In the D position, the transmission has two modes; the automatic shift mode and sequential sportshift mode. The transmission is switched to the sequential sportshift mode by moving the shift lever into the M position from the D, and the driver can shift up and down manually 1st through 5th gears with the shift lever, and by using the steering wheel shift switches; much like a manual transmission.

The vehicle can start off in 1st and 2nd gear in the M position.

The sequential sportshift upshift switch and downshift switch are in the shift lever, and steering wheel upshift switch and steering wheel downshift (-) switch are installed on the back of the steering wheel. The driver can shift gears by moving the shift lever by hand, or by pressing the steering wheel shift switches without taking either hand off the steering wheel.





The M indicator and shift indicator are in the tachometer in the gauge assembly.

In the M position; sequential sportshift mode, the M indicator comes on, and the shift indicator displays the number of the gear selected.

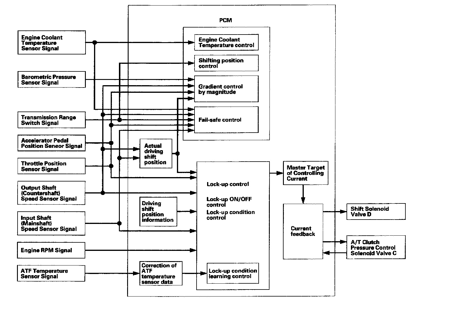
Clutch Pressure Control





The PCM actuates the A/T clutch pressure control solenoid valves A, B, and C to control the clutch pressure. When shifting between gears, the clutch pressure regulated by the A/T clutch pressure control solenoid valves A, B, and C engages and disengages the clutch smoothly. The PCM receives input signals from the various sensors and switches, performs processing data, and outputs current to the A/T clutch pressure control solenoid valves A, B, and C.

Lock-up Control





The shift solenoid valve D controls the hydraulic pressure to switch the lock-up shift valve and lock-up ON and OFF. The PCM actuates the shift solenoid valve D and the A/T clutch pressure control solenoid valve C ON, the condition of lock-up starts. The A/T clutch pressure control solenoid valve C regulates and apply the hydraulic pressure to the lockup control valve to control the volume of the lock-up. The lock-up mechanism operates in the D position (2nd, 3rd, 4th, and 5th), and in the D3 position (2nd and 3rd).

PCM A/T Control System Electrical Connections:




PCM A/T Control System Inputs and Outputs:




PCM A/T Control System Inputs and Outputs:




PCM A/T Control System Inputs and Outputs:




PCM A/T Control System Inputs and Outputs: