Curiosii for ever!
: Car repair manuals for everyone.
Home
>>
Acura
>>
2005
>>
RL V6-3.5L
>>
Repair and Diagnosis
>>
Specifications
>>
Mechanical Specifications
>>
Standards and Service Limits
>>
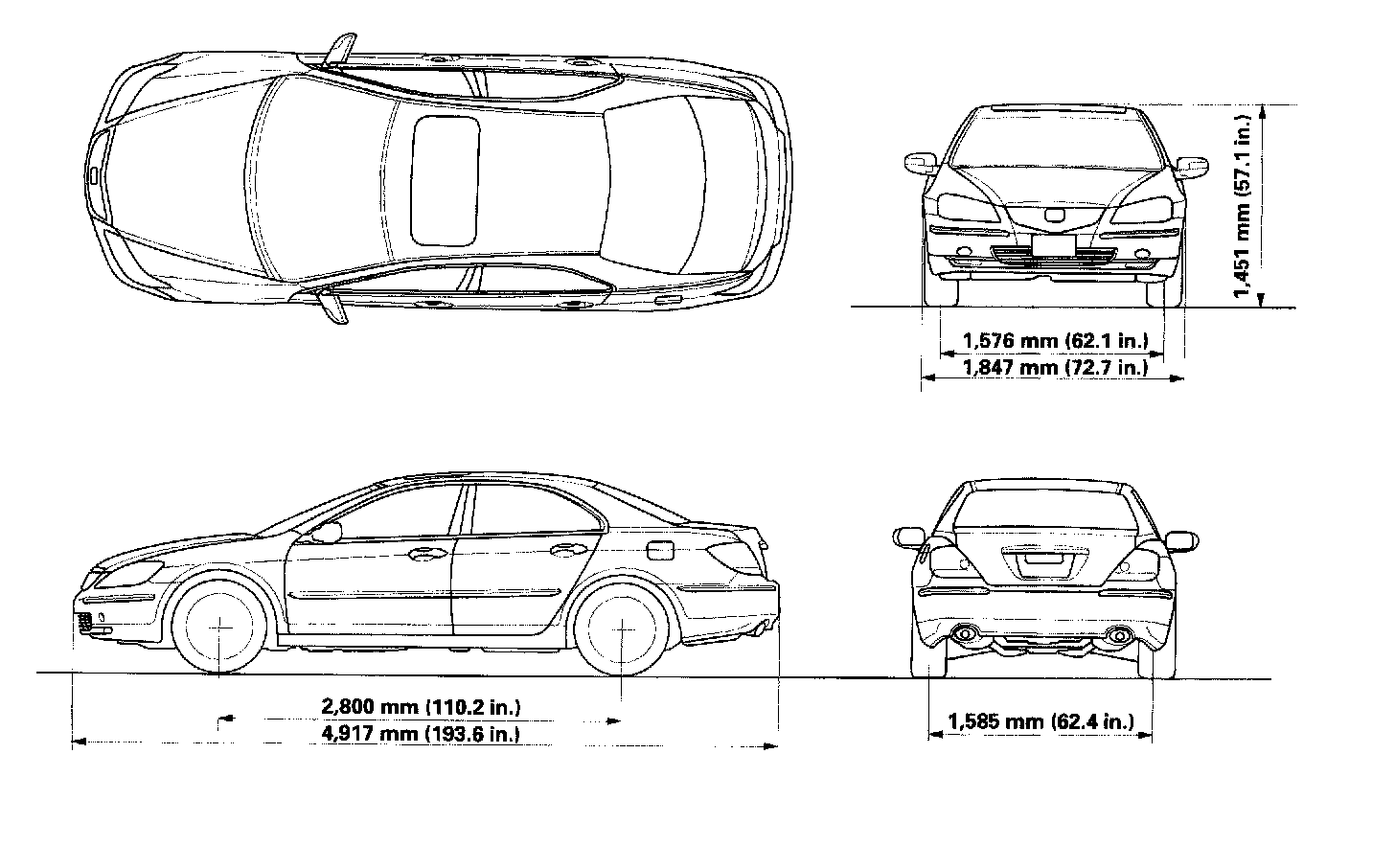
Body Specifications
Body Specifications