Curiosii for ever!: Car repair manuals for everyone.

Onstar System Control Unit Input Test

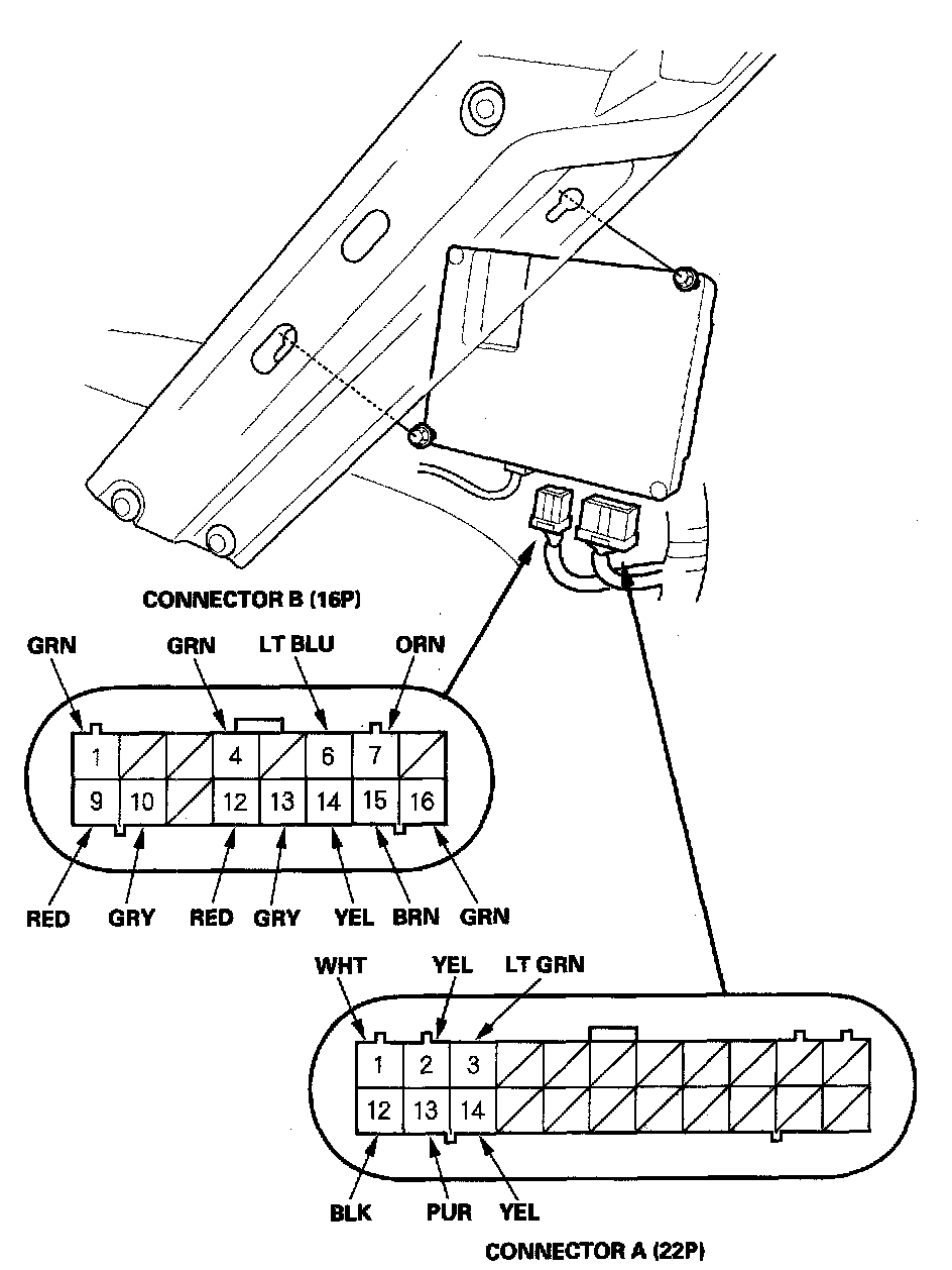
OnStar System Control Unit Input Test

1. Remove the rear seat.




2. Disconnect the 22P and 16P connectors from the OnStar control unit.

NOTE: All connector views are from wire side of female terminals.

3. Inspect the connector and socket terminals to be sure they are all making good contact.
- If the terminals are bent, loose or corroded, repair them as necessary, and recheck the system.
- If the terminals lock OK, go to step 4.




4. Reconnect the connectors to the control unit and make these input tests at the appropriate connector.
- If any test indicates a problem, find and correct the cause, then recheck the system.
- If all the input tests prove OK, go to step 5.




5. Disconnect the 22P and 16P connectors from the OnStar control unit, and make these input tests at the appropriate connector.
- If any test indicates a problem, find and correct the cause, then recheck the system.
- If all the input tests prove OK, the control unit must be faulty; replace it.