Curiosii for ever!: Car repair manuals for everyone.

Front Impact Sensor Replacement

Front Impact Sensor Replacement

Removal
1. Disconnect the battery negative cable, and wait at least 3 minutes before beginning work.
2. Disconnect the driver's airbag 4P connector, the front passenger's airbag 4P connector, and both seat belt tensioner 4P connectors.
3. Remove the front inner fender.




4. Disconnect the engine compartment wire harness 2P connector (A), and remove the two Torx bolts (B) using a Torx T30 bit, then remove the front impact sensor (C).

Installation




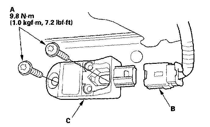
1. Install the new front impact sensor with new Torx bolts (A), then connect the engine compartment wire harness 2P connector (B) to the front impact sensor (C).
2. Reconnect the driver's airbag 4P connector, the front passenger's airbag 4P connector, and both seat belt tensioner 4P connectors.
3. Reconnect the battery negative cable.
4. After installing the front impact sensor, confirm proper system operation: Turn the ignition switch ON (II): the SRS indicator should come on for about 6 seconds and then go off.
5. Install all removed parts.