Curiosii for ever!: Car repair manuals for everyone.

Fluid - M/T: Service and Repair

Transmission Fluid Inspection and Replacement
1. Park the vehicle on level ground, and turn the engine OFF.
2. Remove the splash shield.





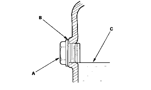
3. Remove the oil filler plug (A) and washer (B), check the condition of the fluid, and make sure it is at the proper level (C).





4. If the fluid is dirty, remove the drain plug (D) and drain it.
5. Install the drain plug with a new drain plug washer (P/N 90403-RAR-M000), and refill the transmission fluid to the proper level.
Fluid Capacity
2.0 L (2.1 US qt.) at fluid change
2.2 L (2.3 US qt.) at overhaul
Always use Honda Manual Transmission Fluid (MTF). Using motor oil can cause stiffer shifting because it does not contain the proper additives.
6. Install the oil filler plug with a new filler plug washer (P/N 90404-RAR-M000).
7. Install the splash shield.