Curiosii for ever!: Car repair manuals for everyone.

Evaporator Temperature Sensor / Switch: Service and Repair

Evaporator Temperature Sensor Replacement




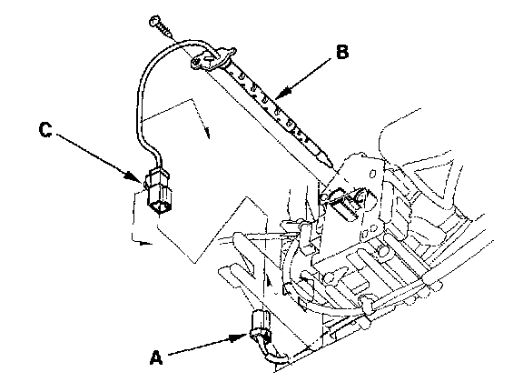
1. Disconnect the 2P connector (A) from the evaporator temperature sensor (B), then remove the connector clip (C). Remove the self-tapping screw, and carefully pull out the evaporator temperature.
2. Install the sensor in the reverse order of removal