Curiosii for ever!: Car repair manuals for everyone.

Rear Door Window Regulator: Service and Repair

Rear Door Glass and Regulator Replacement

NOTE:
- Put on gloves to protect your hands.
- Be careful of sharp edges.

1. Remove these items:
- Door panel
- Plastic cover, as necessary




2. Carefully move the glass (A) until you can see the bolts, through the holes in the door frame, then remove them. Remove the glass from the regulator (B), and carefully lower the glass. Take care not to drop the glass inside the door.




3. Pull the glass run channel (A) away as needed. Pull the door weatherstrip (B) away as needed, then remove the screw (C) with a T15 Torx bit. Remove the bolts (D, E) securing the center channel (F), then remove the collar (G).




4. Pull the upper portion of the center channel (A) forward to remove it from the door quarter glass seal (B), then pull up and remove the center channel through the window slot. Take care not to damage the outer weatherstrip (C).




5. Remove the quarter glass (A). Take care not to damage the outer weatherstrip (B).




6. Carefully remove the glass (A) through the window slot. Take care not to drop the glass inside the door.




7. Disconnect the connector (A) from the regulator (B).
8. Remove the bolts (C) and loosen the bolts (D), then remove the regulator through the hole in the door.




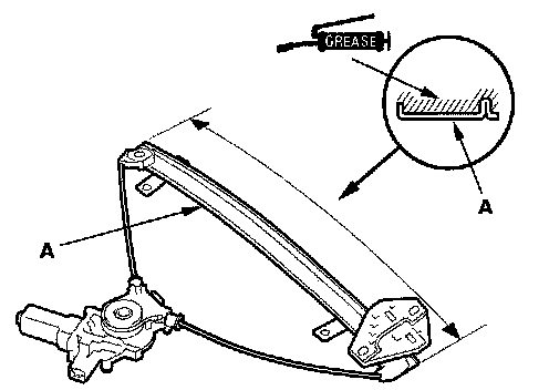
9. Apply multipurpose grease to all the sliding surfaces of the regulator (A) where shown.
10. Install the glass and regulator in the reverse order of removal, and note these items:
- Special corrosion-resistant bolts are used in this area. The use of any other type of hardware may result in accelerated corrosion.
- Roll the glass up and down to see if it moves freely without binding.
- Make sure that there is no clearance between the glass and glass run channel when the glass is closed.
- Adjust the position of the glass as necessary.
- Check for water leaks.
- Test-drive and check for wind noise and rattles.
- When reinstalling the door panel, make sure the plastic cover is installed properly and sealed around its outside perimeter to prevent water leaks.