Curiosii for ever!: Car repair manuals for everyone.

Quarter Window Glass: Service and Repair

Quarter Glass Replacement

NOTE:
- Put on gloves to protect your hands.
- Use seat covers to avoid damaging any surface.

1. Remove these items:
- B-pillar upper trim
- C-pillar trim
- Quarter window trim
- Rear side trim panel, as necessary
- Roof drip molding




2. From inside the vehicle, use a knife (A) to cut through the quarter glass adhesive (B) all the way around while pulling the rear portion of the headliner (C) down or upper portion of the rear side trim panel (D) back as necessary:
- If the quarter glass (E) is to be reinstalled, take care not to damage the molding (F).
- If the molding is damaged, replace the quarter glass, molding and clips (G) as an assembly.
- If any of the clips are broken, the front corner glass can be reinstalled using butyl tape (refer to step 7).
- Apply protective tape along the edge of the entire front corner glass opening flange.

3. Carefully remove the quarter glass, and check the molding for damage, and replace the quarter glass if necessary.
4. With a putty knife, scrape the old adhesive smooth to a thickness of about 2 mm (0.08 in.) on the bonding surface around the entire quarter glass opening flange:
- Do not scrape down to the painted surface of the body, damaged paint will interfere with proper bonding.
- Remove the clips from the body.

5. Clean the body bonding surface with a sponge damaged in alcohol. After cleaning, keep oil, grease and water from getting on the surface.
6. If the old quarter glass is to be reinstalled, use a putty knife to scrape off all of the old adhesive, any broken clips, and the fastener from the glass. Clean the inside face and the edge of the glass with alcohol where new adhesive is to be applied. Make sure the bonding surface is kept free of water, oil, and grease.




7. If the old quarter glass is to be reinstalled (and any of the clips are broken off the molding), apply a light coat of primer (C-100, or equivalent), then apply butyl tapes (A) to the molding (B) as shown:
- Be careful not to touch the quarter glass where adhesive will be applied.
- Do not peel the separator off the butyl tapes.




8. If the old quarter glass is to be reinstalled (and any of the clips are broken off the molding), seal the body holes with pieces of urethane tape (A). Then set the quarter glass upright in the opening, and make alignment marks (B) across the quarter glass and body with a grease pencil at the three points shown. Be careful not to touch the quarter glass where adhesive will be applied.
9. Remove the quarter glass.




10. With a sponge, apply a light coat of glass primer to the inside face of the quarter glass (A) as shown, then lightly wipe it off with gauze or cheesecloth:
- Do not apply body primer to the quarter glass, and do not get body and glass primer sponges mixed up.
- Never touch the primed surfaces with your hands. If you do, the adhesive may not bond to the quarter glass properly, causing a leak after the quarter glass is installed.
- Keep water, dust, and abrasive materials away from the primed surface.




11. With a sponge, apply a light coat of body primer to the original adhesive remaining around the quarter glass opening flange. Let the body primer dry for at least 10 minutes:
- Do not apply glass primer to the body, and do not get glass and body primer sponges mixed up.
- Never touch the primed surfaces with your hands.
- Mask off the dashboard before painting the flange.




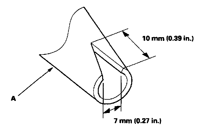
12. Before filling a cartridge, cut a "V" in the end of the nozzle (A) as shown.




13. Pack adhesive into the cartridge without air pockets to ensure continuous delivery. Put the cartridge in a caulking gun, and run a bead of adhesive (A) around the edge of the quarter glass (B) as shown:
- After applying the adhesive, peel the separator off the butyl tape.
- Apply the adhesive within 30 minutes after applying the glass primer. Make a slightly thicker bead at each corner.




14. Use suction cups (A) to hold the quarter glass (B) over the opening, align the clips or the alignment marks (C) made in step 9, and set it down on the adhesive. Lightly push on the quarter glass until its edges are fully seated on the adhesive all the way around. Do not open or close the doors until the adhesive is dry.
15. Scrape or wipe the excess adhesive off with a putty knife or towel. To remove adhesive from a painted surface or the quarter glass, wipe with a soft shop towel damaged with alcohol.
16. Let the adhesive dry for at least 1 hour, then spray water over the quarter glass and check for leaks. Mark the leaking areas and let the quarter glass dry, then seal with sealant. Let the vehicle stand for at least 4 hours after quarter glass installation. If the vehicle has to be used within the first 4 hours, it must be driven slowly.
17. Reinstall all remaining removed parts.

NOTE: Advise the customer not to do the following things for 2 to 3 days.

- Slam the doors with all the windows rolled up.
- Twist the body excessively (such as when going in and out of driveways at an angle or driving over rough,uneven roads).