Curiosii for ever!: Car repair manuals for everyone.

Map Light: Testing and Inspection

Spotlight Test

1. Turn the light switch OFF.




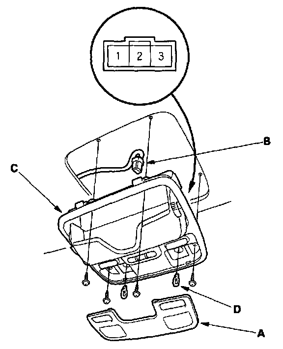
2. Carefully pry off the lens (A) with a small screwdriver.

SPOTLIGHT: 4CP

3. Remove the four mounting screws.
4. Disconnect the 3P connector (B) from the housing (C).




5. Check for continuity between the terminals in each switch position according to the table.
6. If the continuity is not as specified, check the bulbs (D).
If the bulbs are OK, replace the light.