Curiosii for ever!
: Car repair manuals for everyone.
Home
>>
Acura
>>
2000
>>
Integra GS-R Sedan L4-1797cc 1.8L DOHC (VTEC) MFI
>>
Repair and Diagnosis
>>
Powertrain Management
>>
Relays and Modules - Powertrain Management
>>
Relays and Modules - Computers and Control Systems
>>
Main Relay (Computer/Fuel System)
>>
Testing and Inspection
>>
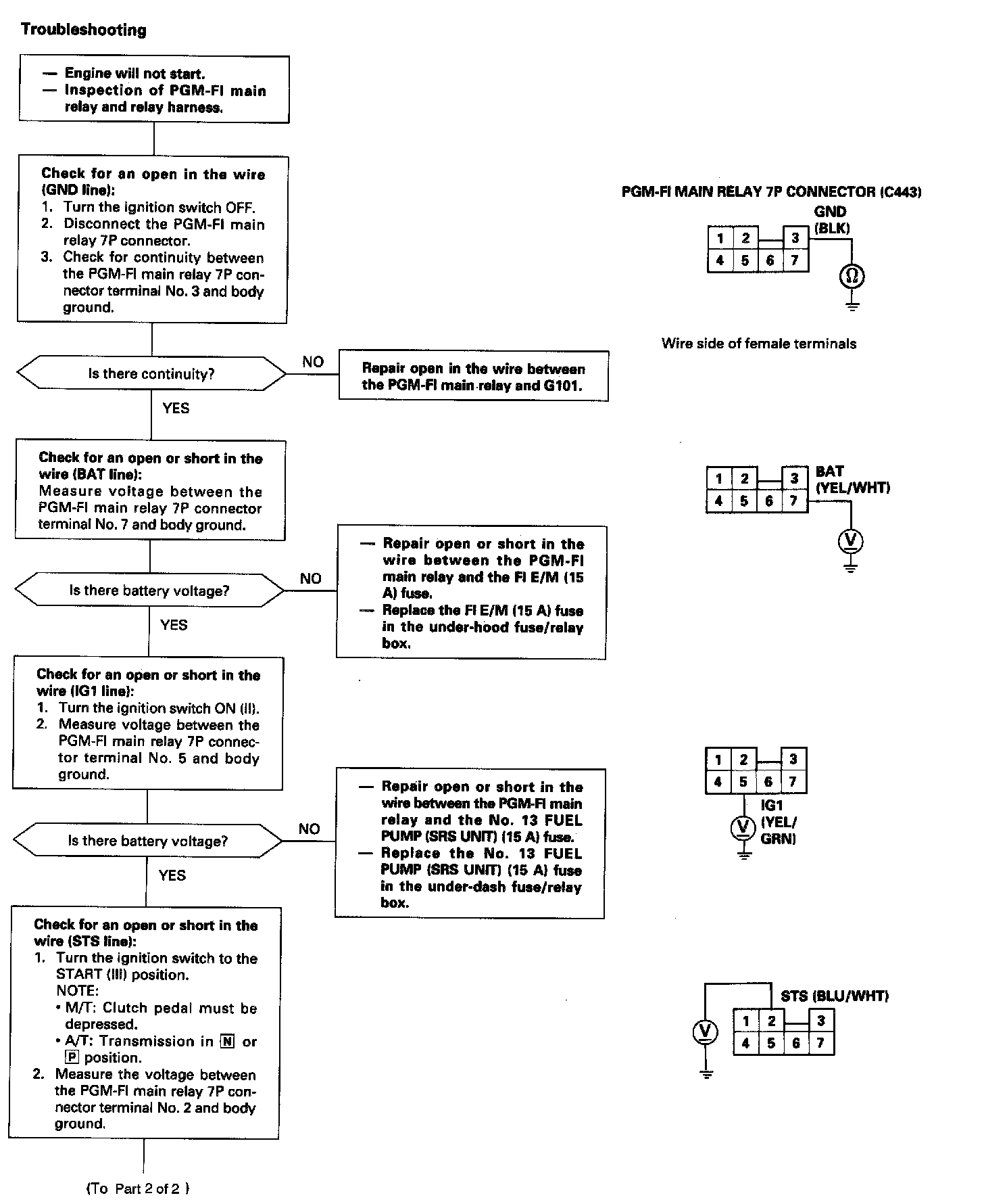
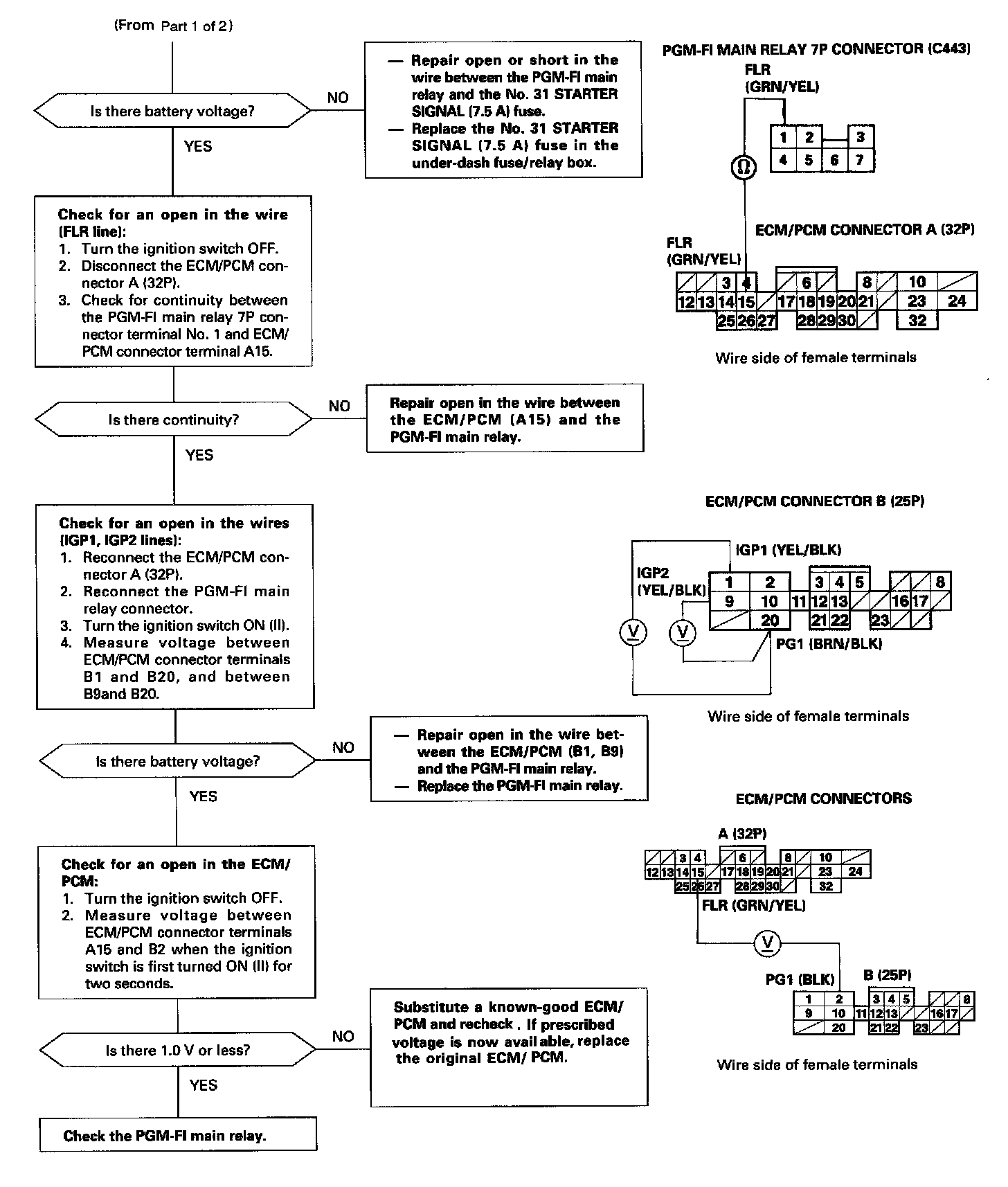
PGM-FI Main Relay Circuit Troubleshooting
PGM-FI Main Relay Circuit Troubleshooting
(Part 1 Of 2):
(Part 2 Of 2):