Curiosii for ever!: Car repair manuals for everyone.

Climate Control Unit Bulb Replacement

With Navigation System
1. Discharge the static electricity (which accumulated on you when you removed the climate control unit) by touching the door striker or other body parts.




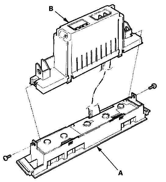
2. Remove the self-tapping screws, then carefully separate the climate control unit to the display (A) and the control unit (B). Do not kink or pull on the wires between the display and the control unit. Do not touch the electronic components on the printed circuit board in the control unit.




3. Remove the bulb(s) with a flat-tip screwdriver.
4. Install in the reverse order of removal. After installation, operate the climate control unit to see whether it works properly.
5. Run the self-diagnosis function to confirm that there are no problems in the system.