Curiosii for ever!: Car repair manuals for everyone.

Power Window Relay: Testing and Inspection

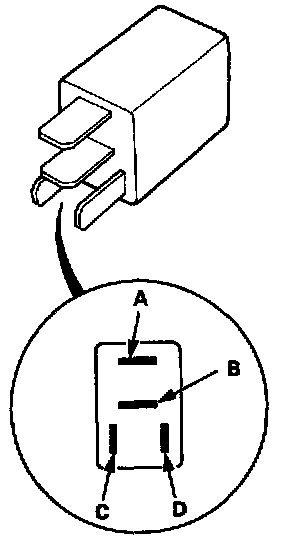
Relay Test (Normally-Open Type)







Check for continuity between the terminals.

There should be continuity between the A and B terminals when power and ground are connected to the C and D terminals.

There should be no continuity between the A and S terminals when power is disconnected.


Type 1:





- Condenser Fan Relay
- Radiator Fan Relay
- A/C Compressor Clutch Relay


Type 2: