Curiosii for ever!
: Car repair manuals for everyone.
Home
>>
Acura
>>
1998
>>
TL V6-3206cc 3.2L SOHC MFI
>>
Repair and Diagnosis
>>
Powertrain Management
>>
Computers and Control Systems
>>
Main Relay (Computer/Fuel System)
>>
Testing and Inspection
>>
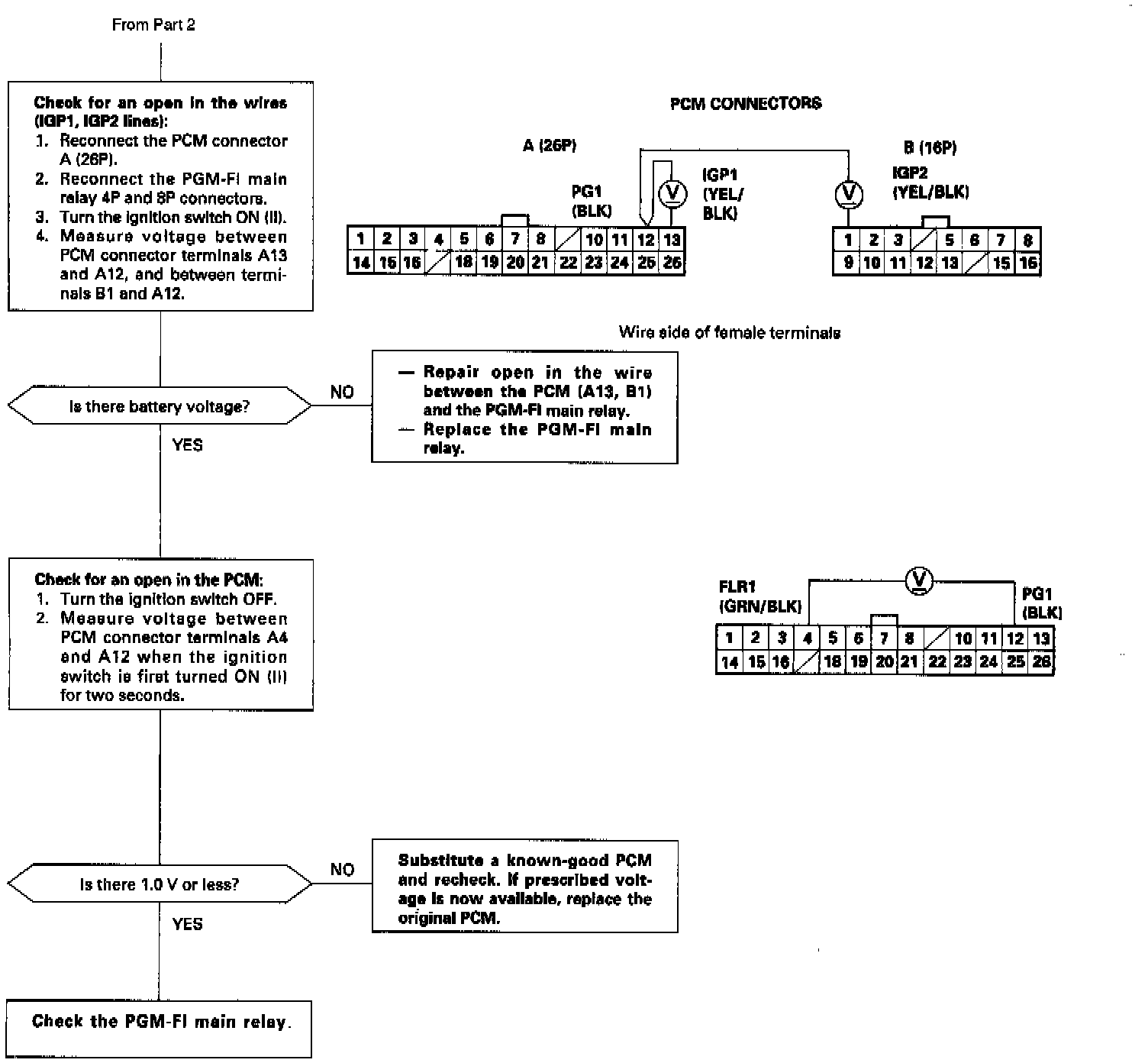
PGM-FI Main Relay Troubleshooting Flowchart
PGM-FI Main Relay Troubleshooting Flowchart