Curiosii for ever!: Car repair manuals for everyone.

Charging System: Testing and Inspection

If the charging system light does not come on or does not go off, or the battery is dead or low, test the following items in the order listed below:
1. Battery
2. Charging system light
3. Voltage
4. Alternator control system
5. Alternator/regulator







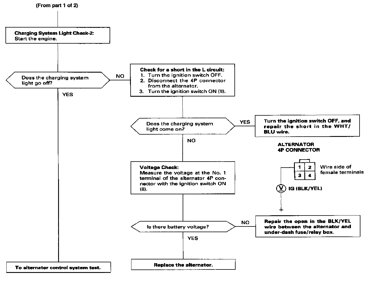
Charging System Light Test




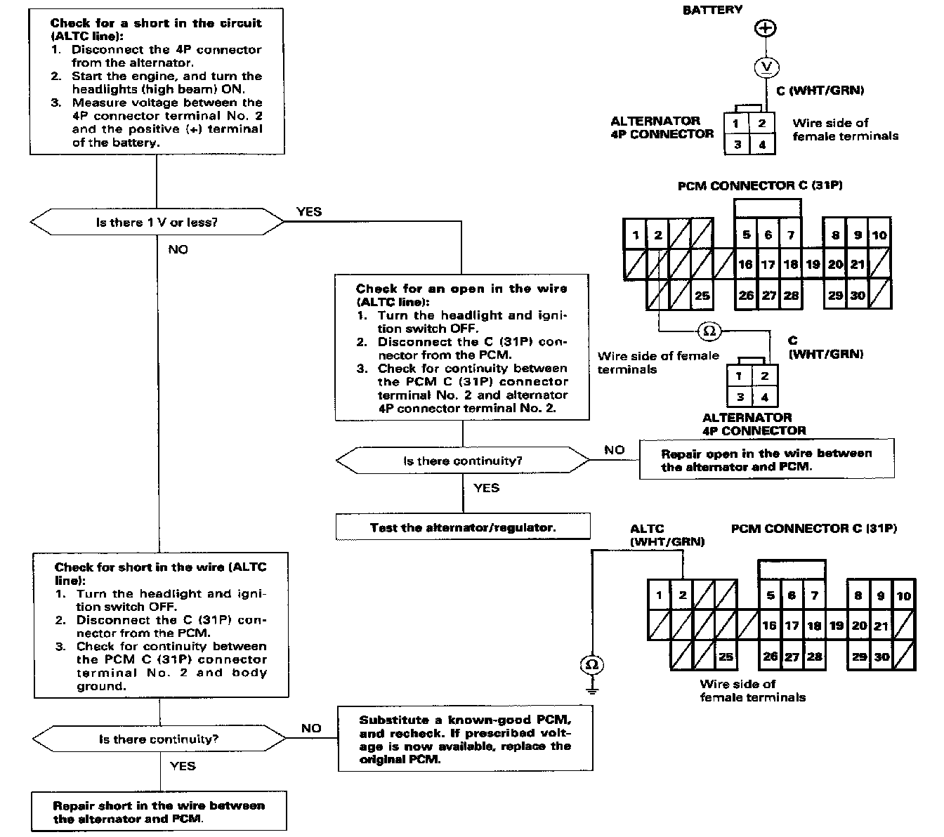
Alternator Control System Test ('97 Model)

NOTE: Before testing, check proper operation of the ELD by confirming with the MIL.




Alternator Control System Test ('98 Model)

NOTE: Before testing, check proper operation of the ELD by confirming with the MIL.




Alternator/Regulator Test

NOTE: Be sure the battery is sufficiently charged.