Curiosii for ever!: Car repair manuals for everyone.

Distributor: Service and Repair

Removal




1. Disconnect the 3P connector from the distributor.
2. Disconnect the ignition wires from the distributor ignition (DI) cap.
3. Remove the mounting bolts from the distributor, then remove the distributor from the cylinder head.

Installation

NOTE: Before you install the distributor, bring the No.1 piston to compression stroke TDC.

1. Coat a new O-ring with engine oil, then install it.
2. Slip the distributor into position.

NOTE: The lug on the end of the distributor and its mating grooves in the camshaft end are both offset to eliminate the possibility of installing the distributor 180° out of time.

3. Tighten the mounting bolts.




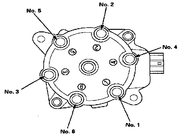
4. Connect the ignition wires to the distributor ignition (DI) cap as shown.
5. Connect the 3P Connector to the distributor.