Curiosii for ever!
: Car repair manuals for everyone.
Home
>>
Acura
>>
1998
>>
CL V6-3.0L SOHC (VTEC)
>>
Repair and Diagnosis
>>
Diagrams
>>
Connector Views
>>
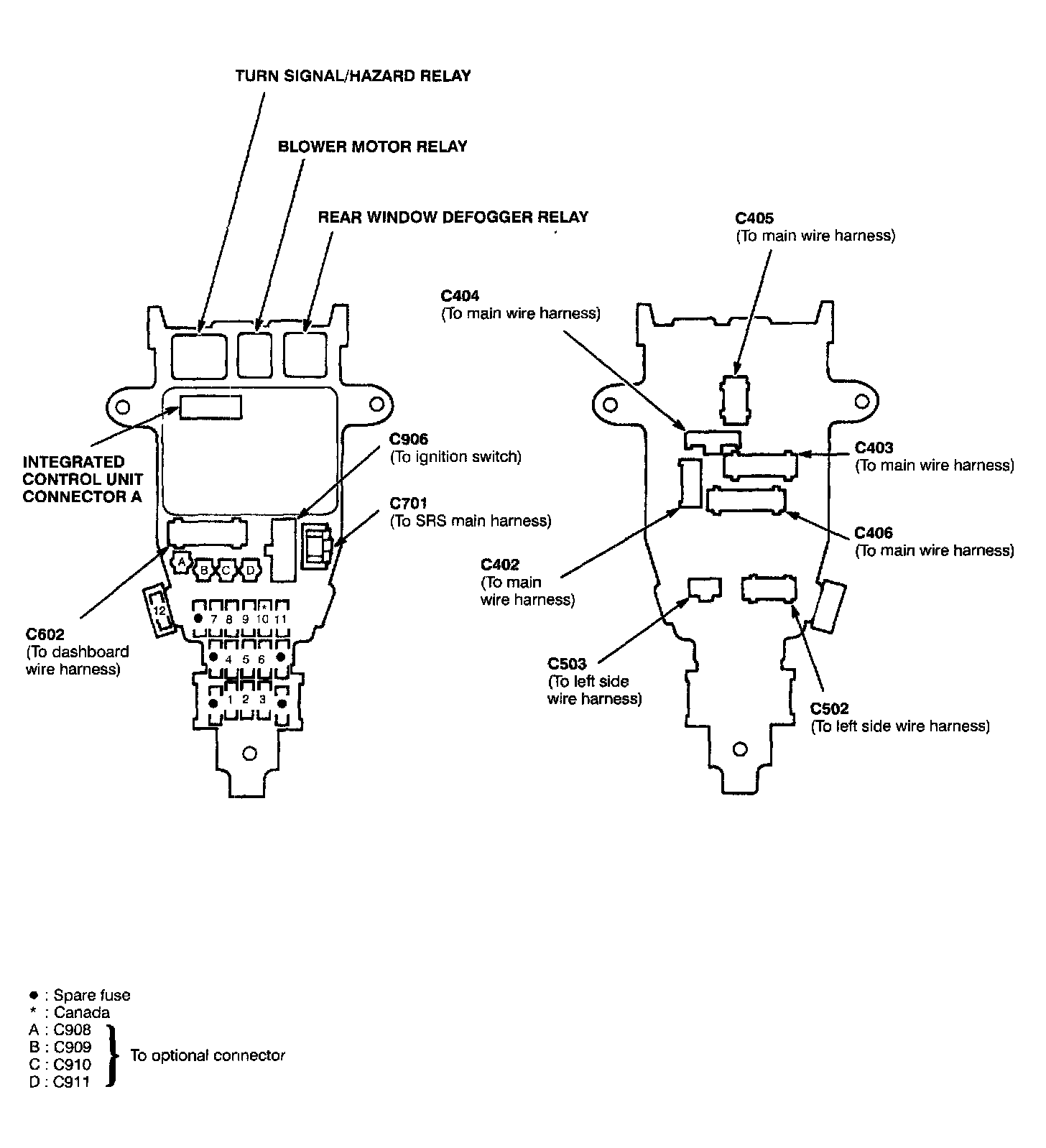
Fuse Block
Fuse Block
UNDER-DASH FUSE/RELAY BOX
UNDER-HOOD FUSE/RELAY BOX
UNDER-HOOD ABS FUSE/RELAY BOX