Curiosii for ever!: Car repair manuals for everyone.

Back Window Glass: Service and Repair

Rear Window

Removal

CAUTION:
- Put on gloves to protect your hands.
- Wear eye protection when removing the glass with piano wire.
- Use seat covers to avoid damaging any surfaces.
- Do not damage the rear window defogger grid lines, window antenna grid lines, and terminals.


1. To remove the rear window, first remove the:
- Trunk lid
- Rear seat cushion and seat-back
- Rear pillar trim
- Rear shelf

2. Pull down the rear of the headliner.

CAUTION: Take care not to bend the headliner excessively.




3. Disconnect the rear window defogger connectors and window antenna connectors.

4. Remove the lower molding, then remove the remaining molding.






NOTE: If necessary, replace any damaged molding holders and clips.




Molding holder removal:
a. Remove or loosen the screw.
b. Place the screw in the screw grommet again (do not screw it in) and press it down.
c. Pull the screw with the molding holder out of the body.




5. Apply protective tape along the edge of the body as shown. Using an awl, make a hole through the adhesive from inside the vehicle. Push the piano wire through the hole, and wrap each end around a piece of wood.

6. With a helper on the outside, pull the piano wire back and forth in a sawing motion, and carefully cut through the adhesive around the entire rear window.






CAUTION: Hold the piano wire as close to the rear window as possible to prevent damage to the body.

7. Carefully remove the rear window.

Installation

1. Using a knife, scrape the old adhesive smooth to a thickness of about 2 mm (0.08 in.) on the bonding surface around the entire rear window opening flange.

NOTE:
- Do not scrape down to the painted surface of the body; damaged paint will interfere with proper bonding
- Mask off surrounding surfaces before painting.
- Remove the rubber dam, fasteners and spacers from the body.

2. Clean the body bonding surface with a sponge dampened in alcohol.

NOTE: After cleaning, keep oil, grease and water from getting on the surface.

3. If the old rear window is to be reinstalled, use a putty knife to scrape off all traces of old adhesive and the rubber dam, then clean the rear window surface with alcohol where new adhesive is to be applied.

NOTE: Make sure the bonding surface is kept free of water, oil and grease.

CAUTION: Avoid setting the rear window on its edges; small chips may later develop into cracks.






NOTE:
- Clean the shadowed area.
- Clean area (A) as shown.

4. Glue the rubber dam, fasteners, and spacers to the inside face of the rear window as shown. If necessary, glue the terminal base cover to the rear window.






NOTE: Be careful not to touch the rear window where adhesive will be applied.

5. Align and glue the molding to the edge of the rear window.






NOTE: Be careful not to touch the rear window where adhesive will be applied.




6. Install the fasteners to the body as shown.

7. Set the rear window, then center it in the opening. Make alignment marks across the rear window and body with a grease pencil at the four points shown.






NOTE: Be careful not to touch the rear window where adhesive will be applied.

8. Remove the rear window.
9. With a sponge, apply a light coat of glass primer around the edge of the rear window as shown, then lightly wipe it off with gauze or cheesecloth.






NOTE:
- Do not apply body primer to the rear window, and do not get body and glass primer sponges mixed up.
- Never touch the primed surfaces with your hands. If you do, the adhesive may not bond to the rear window properly, causing a leak after the rear window is installed.
- Keep water, dust, and abrasive materials away from the primed surface.

10. With a sponge, apply a light coat of body primer to the original adhesive remaining around the rear window opening flange. Let the body primer dry for at least 10 minutes.






NOTE:
- Do not apply glass primer to the body, and be careful not to mix up glass and body primer sponges.
- Never touch the primed surfaces with your hands.




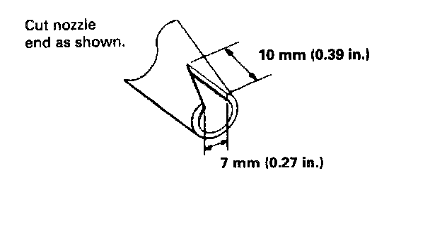
11. Before filling a cartridge, cut the end of the nozzle as shown.

12. Pack adhesive into the cartridge without air pockets to ensure continuous delivery. Put the cartridge in a caulking gun, and run a bead of adhesive around the edge of the rear window as shown.






NOTE: Apply the adhesive within 30 minutes after applying the glass primer.

13. Use suction cups to hold the rear window over the opening, align it with the alignment marks made in step 7, and set it down on the adhesive. Lightly push on the rear window until its edges are fully seated on the adhesive all the way around.






NOTE: Do not open or close the doors until the adhesive is dry.

14. Scrape or wipe the excess adhesive off with a putty knife or towel.

NOTE: To remove adhesive from a painted surface or the rear window, use a soft shop towel dampened with alcohol.




15. Install the lower molding.

16. Let the adhesive dry for at least 1 hour, then spray water over the rear window and check for leaks. Mark the leaking areas, let the rear window dry, then seal with sealant.

NOTE: Let the vehicle stand for at least 4 hours after rear window installation. If the vehicle has to be used within the first 4 hours, it must be driven slowly.

17. Reinstall all remaining removed parts.

NOTE: Advise the customer not to do the following things for 2 to 3 days.
- Slam the doors with all the windows rolled up.
- Twist the body excessively (such as when going in and out of driveways at an angle or driving over rough, uneven roads).