Curiosii for ever!: Car repair manuals for everyone.

PGM-FI Main Relay Test





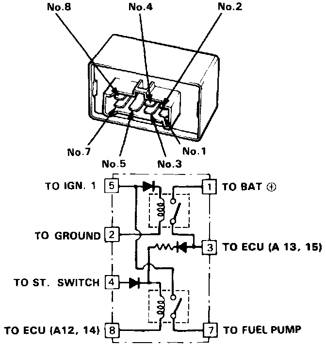
Main Relay Test

NOTE: If the car starts and continues to run, the main relay is OK.

1. Remove the main relay.
2. Attach the battery positive terminal to the No. 4 terminal and the battery negative terminal to the No. 8 terminal of the main relay. Then check for continuity between the No. 5 terminal and No. 7 terminal of the main relay.
- If there is continuity, go on to step 3.
- If there is no continuity, replace the relay and retest.
3. Attach the battery positive terminal to the No. 5 terminal and the battery negative terminal to the No. 2 terminal of the main relay. Then check that there is continuity between the No. 1 terminal and No. 3 terminal of the main relay.
- If there is continuity, go on to step 4.
- If there is no continuity, replace the relay and retest.
4. Attach the battery positive terminal to the No. 3 terminal and battery negative terminal to the No. 8 terminal of the main relay. Then check that there is continuity between the No. 5 terminal and No. 7 terminal of the main relay.
- If there is continuity, the relay is OK;
If the fuel pump still does not work, go to Harness Test.
- If there is no continuity, replace the relay and retest.