Curiosii for ever!
: Car repair manuals for everyone.
Home
>>
Acura
>>
1993
>>
Integra L4-1678cc 1.7L DOHC (VTEC) FI
>>
Repair and Diagnosis
>>
Powertrain Management
>>
Computers and Control Systems
>>
Testing and Inspection
>>
Component Tests and General Diagnostics
>>
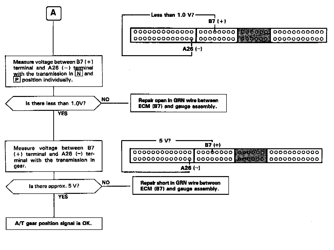
Automatic Transaxle (A/T) Gear Position Signal
Automatic Transaxle (A/T) Gear Position Signal
AUTOMATIC TRANSAXLE (A/T) GEAR POSITION SIGNAL