Curiosii for ever!
: Car repair manuals for everyone.
Home
>>
Acura
>>
1992
>>
Integra L4-1678cc 1.7L DOHC (VTEC) FI
>>
Repair and Diagnosis
>>
Powertrain Management
>>
Computers and Control Systems
>>
Sensors and Switches - Computers and Control Systems
>>
Transmission Position Sensor/Switch
>>
Testing and Inspection
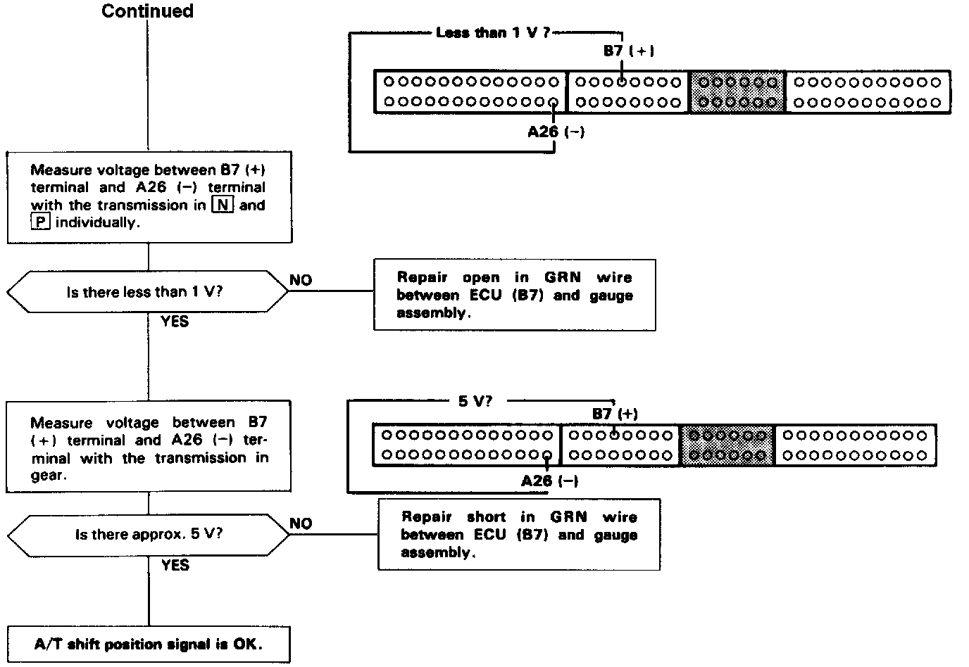
Transmission Position Sensor/Switch: Testing and Inspection
This signals the ECU when the transmission is in Neutral or Park.